论文:用于挖掘Web日志的数据仓库系统实现
5 Web日志数据仓库逻辑建模
要建立Web日志数据仓库,首先要进行逻辑建模。数据仓库一般有两种逻辑模式:星型模式和雪花模式。
星型模式是一种关系型数据库结构,其典型形式是由中间的一个主表和围绕在其周围的一组小表组成,中间的主表称为“事实表”,外围的小表称为“维度表”。事实表中存储数值型度量指标和连接到维度表的外键,它包含了描述特定商业事件的数据,例如产品销售、网站访问情况等;维度表中存储用于描述事物的文本属性信息及连接到事实表的主键,它包含了用于参考存储在事实表中数据的数据,如时间、地理位置等。雪花模式是星型模式的变种,将一个或多个维表分解成多个表,每个表都有连接到主维度表而不是事实数据表的相关性维度表。

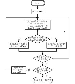
图5 会话识别流程图
根据分析主题的需要,Web日志数据仓库采用常用的星型模式,在SQL Sever 2000提供的Analysis Services平台下实现。结果如图6,它包括一个大的事实表和一组小的维表,事实表为FactTbl表,维度表为UserTbl、TimeTbl、PathTbl 以及ProtocolTbl,其中FactTbl表是由关系数据库中IDTbl表转换而来。

图6 Web日志数据仓库多维逻辑模型
在关系数据库中对IDTbl表进行聚集计算,可得到用户一次会话中每个页面的停留时间timestay,并通过离散化技术将timestay属性转化为每一页面的平均访问次数,定义为visit属性。关于这一过程,Cooley等在文献 [5] 中给出了详细步骤。将这两个属性及IDTbl表其它属性一起添加到FactTbl表,即形成了数据仓库的事实表,其中timestay和visit作为事实表的度量值,即希望在数据仓库中能查看并可以预测的数据。
6、结论
综上所述,实现一个Web日志数据仓库原型系统有两个关键点:预处理和逻辑建模。本文在解析Web日志时采取的一些预处理方法事实证明收到了良好的效果,可比较精确地识别用户及会话;在进行逻辑建模时采用星型逻辑模型,运用大量的冗余维度数据进行设计,大大提高了信息的检索性能。同时,文章实现了一个数据仓库原型系统,该系统简单实用,对原始的Web日志信息进行了维度上的分类,便于从特定时间段、特定用户等角度来实现对Web日志数据的进一步挖掘。
该系统尚存在一些不足之处,还有很多地方需要改进。例如在预处理阶段可以考虑将Web 页面结构和 Web 日志结合起来构造用户访问会话,减小会话集中出现的错误,使得模式发现阶段的结果更加准确和可信。并且可以将单纯的Web日志与其他用户信息数据结合分析,这样可以更好地发现用户行为模式。
本文由翔宇亭IT乐园(http://www.biye5u.com)提供,有什么意见或建议请留言评论。
微信搜索“优雅的代码”关注本站的公众号,或直接使用微信扫描下面二维码关注本站公众号,以获取最新内容。
个人成长离不开各位的关注,你的关注就是我继续前行的动力。
